电脑上怎么使用小火箭软件
(以下简称“星思半导体”),完成了多轮战略融资,累计金额近15亿元。若以金额计算,这是今年初以来商业航天赛道上规模最大的一笔融资。
星思半导体成立于2020年10月,位于上海张江。公司曾获评中国潜在独角兽企业、国家级专精特新“小巨人”企业等荣誉。
自诞生之初,星思半导体便将目光锁定在5G乃至更前沿的6G通信技术上,致力于为客户提供具备竞争力的全场景天地一体化基带芯片及解决方案,包括5G/6G eMBB、RedCap及 NTN的终端/手机基带芯片平台和解决方案。
在构建未来空天地海一体化通信网络、实现全球万物互联的宏大蓝图中,卫星互联网是不可或缺的关键板块,具有深远的战略价值。而在这个庞大复杂的通信体系架构中,基带芯片扮演着如同“神经中枢”般的核心角色。它承担着编码解码、信号处理等核心任务,其性能直接决定着通信网络的稳定性与传输效率,星思半导体正是专注于搭建这座连接天地的技术桥梁。
为实现这一目标,星思半导体组建了一支由业界资深专家领衔的研发团队,在无线通信、数据通信、芯片设计验证和芯片量产方面经验丰富。公司配备了Palladium、Zebu、HAPS等大型仿真加速器、综测仪等软硬件平台,可独立完成超大规模芯片设计、验证,以及测试调试等工作。
公司的技术已广泛应用于多个前沿场景,包括手机直连卫星、卫星通信终端、机载通信、无人机自组网、电动垂直起降飞行器(eVTOL)通感一体、车载通信、智能座舱、5G FWA固定无线接入、应急通信、集群通信、工业物联等,全面服务于5G/6G万物互联与卫星通信的生态构建。
发展历程上,星思半导体步履迅捷。2022年11月,其首款自研5G基带芯片一版流片成功;2023年,公司攻克了“多普勒频移补偿技术”,有效解决了卫星通信中因高速移动导致的信号失线月成功打通卫星试验电线年,搭载星思半导体芯片的某品牌手机旗舰机型,实现了全球首次基于5G NTN标准的手机直连卫星高清视频通话。
近年来,星思半导体还积极配合相关单位,承担了卫星通信基带芯片和终端的研制与测试联调工作,并全面参与卫星互联网技术试验卫星的在轨技术验证工作。2025年4月,我国成功发射卫星互联网技术试验卫星,星思半导体作为在轨测试现场唯一提供商用手机卫星通信基带芯片的供应商,全程提供技术支持和保障服务。
面向未来,星思半导体并未止步于卫星通信。公司已在5G-Advanced和6G空天地一体化的技术演进道路上提前布局,紧密契合国家“十五五”规划中关于6G的发展方向。以NTN基带芯片为核心,支持天地网络动态切换,星思半导体正通过“芯片+解决方案”推动技术落地,助力国家实现6G时代泛在连接与自主可控的战略目标。
作为国内为数不多专注基带芯片设计的企业,星思半导体的融资历程既展现了其技术吸引力,也折射出一级市场与芯片行业的冷暖变迁。在本轮融资之前,公司已完成6轮融资,累计金额超过17亿元。
公司成立仅两个月,便迅速完成了1亿元人民币的天使轮融资,起步迅猛。随后两年,星思半导体吸引了诸多一线亿元Pre-A轮融资,由鼎晖VGC领投,纪源资本、松禾资本、普罗资本、沃赋创投、嘉御资本等跟投,高瓴创投追加投资;半年后,Pre-A+轮融资接踵而至,经纬创投、华登国际、BAI资本、华金资本等知名机构入局。2022年初,星思半导体再完成超1亿美元的A轮融资,由经纬创投、沃赋创投领投,BAI资本、华登国际、纪源资本、亨通光电、黑盛控股、华创资本等跟投。至此,公司估值已逼近50亿元大关。
然而,市场的风向并非一成不变。2023年,一级市场遭遇募资寒冬,芯片赛道也同样降温。缺乏阶段性商业化验证的筹码,使得融资环境变得艰难,企业往往不得不接受平价甚至折价融资,以储备更多“粮草”度过寒冬。
2024年,星思半导体完成了超5亿元的B轮融资,但这却是一轮典型的“折价融资”。参与此轮的上市公司蓝盾光电,在其对深交所的回复公告中透露了关键细节:星思半导体A轮融资后的估值约为48.82亿元,而B轮的投前估值仅为30亿元,估值缩水近四成,相当于打了六折。
并且蓝盾光电在2024年7月曾通过议案,计划收购星思半导体部分股权,但该交易并未如期进入交割阶段。直到2025年12月,蓝盾光电发布公告,正式宣告此次收购交易终止。
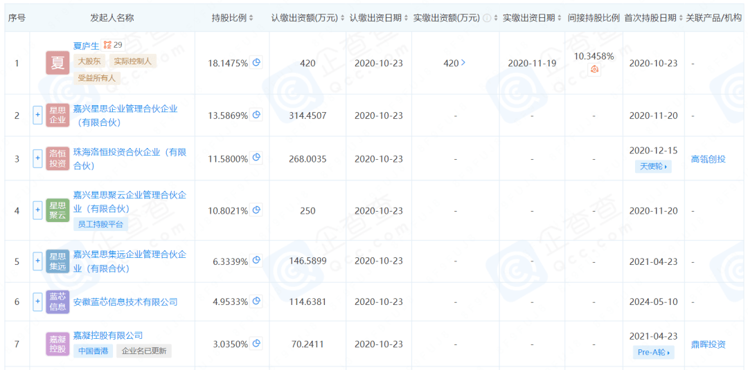
尽管收购未果,蓝盾光电目前仍持有星思半导体4.9533%的股份,位列公司第六大股东,是星思发展历程中的重要参与方。
星思半导体专注5G/6G天地一体化通信芯片的研发,其技术路径与产品布局,使其天然融入商业航天产业链的关键环节。随着卫星互联网纳入国家“新基建”范畴,空天地一体化网络成为明确趋势,商业航天也由此进入发展的快车道,并吸引着越来越多的资本目光。
《中国商业航天产业发展报告(2025)》显示,2025年,中国商业航天行业融资总额达到186亿元,同比增长32%。其中,卫星应用、火箭制造、卫星制造成为最受资本关注的三大热点领域。
据悉,目前全国商业航天企业总数约600家,且多数仍处于早期发展阶段。这条产业链条长、投入大、周期久,从火箭发射、卫星制造到数据应用,需要长期且巨量的资金支持。然而,市场上能够形成清晰商业闭环的成熟项目仍属凤毛麟角。
因此,当前阶段,大部分公司与资本都聚焦于“加航天”的上游核心能力建设,即解决火箭发射、卫星制造、星座组网等基础设施问题。这类似于互联网发展早期对电脑硬件电脑上怎么使用小火箭软件、芯片和光纤网络等基础建设的投入,是商业航天得以存在的物理基石。
在这一波商业航天投资热潮中,投资者的构成也悄然发生着变化。早期,VC、PE等财务投资者以及部分个人投资者是主要的“押注者”。而到了中后期,地方政府引导基金、地方国资平台以及产业资本的身影日益活跃,且单笔融资规模显著提升。
这种从市场财务资本到“国资+产业”资本结合的过渡,体现了国家对战略性新兴产业的支持,也反映了资本对项目技术成熟度和产业落地能力的更高要求。
星思半导体最新的股东阵容便清晰地印证了这一趋势。除了高榕创投、璞信资本、元航资本、鼎兴量子等一线市场化投资机构外,一批具有地方政府背景的产业资本成为本次融资的“基本盘”。这其中包括四川的策源资本、横琴深合产投、福建产投、山东的新动能资本与鲁信创投,以及上海产业知识产权基金等。
这是星思半导体首次大规模引入国资背景的投资方,充分显示了国资对商业航天这一国家战略主题的高度重视与投入热情。
近15亿元的战略融资落定,不仅是对其过去几年技术积累与突破的认可,更是对其在未来6G通信与商业航天广阔天地中扮演关键角色的期待。返回搜狐,查看更多



